20 dessins à faire soi-même avec les dimensions des cages à lapins et la vidéo de montage
Vous pouvez fabriquer des cages pour les lapins domestiques de vos propres mains. Certes, pour la construction d'une habitation pour animaux, vous aurez besoin de planches de bois et d'un treillis métallique à mailles fines. Ils commencent à construire la structure avec un cadre gainé de bois ou de fil tressé. Si les animaux sont prévus pour être gardés à l'extérieur toute l'année, les cages les plus fermées sont en bois.
Choisir un emplacement de cage
Les animaux domestiques doivent être gardés dans une zone non résidentielle spéciale, où la température est maintenue de 10 à 20 degrés Celsius toute l'année, il y a de la lumière, des fenêtres, des portes, une ventilation. Les lapins sont généralement gardés dans des cages. Il n'est pas souhaitable de placer les animaux à l'extérieur, dans le vent ou les courants d'air.
Les cellules sont portables et fixes. Ils peuvent se tenir le long du mur, au milieu de la pièce, sur un, deux, trois niveaux. L'essentiel est de leur fournir un accès gratuit. Les cages sont installées sur des contremarches ou des étagères en bois, en métal, des racks à une hauteur de 50 à 80 cm du sol en un, deux ou trois niveaux. Les structures elles-mêmes doivent être libres, durables, faciles à entretenir et ne pas retenir l'urine et les matières fécales. La taille optimale est de 0,5 m2. mètres de surface pour un animal adulte.
Quels outils et matériaux seront nécessaires
Un logement pour lapins domestiques peut être constitué de planches de bois, de contreplaqué, de panneaux de particules, de plastique, de treillis métallique avec une petite cellule, de cloisons sèches. Dans le processus, vous aurez peut-être besoin d'une tôle mince pour le revêtement, d'un profilé métallique, d'un tube profilé ou de lattes de bois solides pour la construction du cadre. Pour fabriquer une structure, vous avez besoin de quelques outils: une meuleuse, une perceuse, un marteau, des clous, des rivets, des vis, des vis, un ruban à mesurer ou une règle.
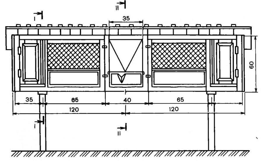
Dimensions et dessin
Une cage peut contenir un ou plusieurs lapins. La taille de la structure dépend du nombre d'animaux, de leur race et de l'âge des animaux.
Pour adultes
Lors de la construction d'un logement pour les grands lapins, ils dessinent d'abord un modèle ou dessinent un diagramme, selon lequel au moins 0,5 mètre carré. mètres de superficie. Une seule cage doit avoir les dimensions suivantes: longueur - 0,7-1,4 m, largeur - 0,5-0,7 m, hauteur - 0,5-0,6 m.Une construction artisanale pour hommes ou femmes est placée à une hauteur de 50 à 80 centimètres du sol sur des contremarches ou des étagères spéciales.




Pour économiser de l'espace dans la pièce, vous pouvez créer des cellules à deux niveaux et même à trois niveaux.

Pour la construction d'une structure en 2 étages, un dessin est dessiné correspondant à deux cellules situées l'une au-dessus de l'autre. Entre les étages adjacents, un espace de 15 à 30 cm est laissé pour la palette. La hauteur totale d'une telle structure est de 1,5 à 2 mètres. Dimensions d'une cage: longueur - 0,8-1,4 m, largeur - 0,7 m, hauteur - 0,6 mètre. La distance au sol est de 50 à 70 cm.

Pour les jeunes animaux
Les lapins jusqu'à 1 mois sont gardés dans la même cage que leur mère. Ensuite, ils sont transférés à l'auto-alimentation et transplantés dans une boîte plus spacieuse. Pour un petit lapin, 0,12 à 0,17 m2 mètres de superficie. Les lapins sont généralement gardés dans plusieurs endroits, c'est-à-dire dans des cages de groupe. Les plus pratiques pour l'élevage d'animaux à la ferme sont considérées comme des constructions conçues pour 7 à 10 jeunes individus. Ces cages peuvent avoir les dimensions (optimales) suivantes: longueur - 1,7 m, largeur - 0,7 m, hauteur - 0,6 mètre.


Pour les lapins géants
Les animaux adultes de grandes races sont gardés dans des boîtes individuelles. Les constructions faites maison ont généralement au moins 0,7 m2. mètres de superficie. Les dimensions optimales d'une cage à lapin sont: longueur - 1,5 m, largeur - 0,8 m, hauteur - 0,8 mètre.

Pour une femelle avec des petits
Pour un lapin avec des lapins, il est recommandé de construire un logement spacieux aux dimensions suivantes: longueur - 1,2 m, largeur - 0,6 m, hauteur - 0,6 mètre. Il existe des modèles avec un compartiment de nidification et un compartiment arrière, séparés l'un de l'autre par une cloison avec un regard rond. Les dimensions d'une telle structure sont: longueur - 1,7 m, largeur - 0,6 m, hauteur - 0,6 mètre.

Comment faire une cage à lapin à faire soi-même
Dans les grandes fermes, les lapins sont généralement gardés dans des cages en treillis métallique sans litière, à l'intérieur desquelles une mangeoire et un abreuvoir sont équipés. Les magasins vendent des designs prêts à l'emploi. Ils sont conçus pour 1 à 2 lapins. Ces cages ont un dessus en filet métallique et un plateau en plastique ou en étain. Ils coûtent entre 50 et 100 dollars. Vous pouvez créer indépendamment des abris pour vos animaux à partir de déchets.

Dimensions de la vidéo:

En bois
La construction la moins chère sera faite de planches de bois. Le bois franc (chêne, érable, hêtre) convient à sa fabrication. La boîte en bois doit avoir une porte grillagée ou une surface avant avec une grille métallique pour fournir de l'air frais aux animaux. Dans une telle cage, les lapins seront au chaud et à l'aise même dans la rue, mais ils devront construire un toit sur le dessus. Certes, il est difficile de nettoyer le parquet des restes de matières fécales, il commence rapidement à pourrir sous l'influence de l'urine.
Instructions étape par étape pour fabriquer une cage:
- un cadre est constitué de barres d'une certaine longueur;
- gainer la base avec des planches sur trois côtés;
- le sol peut être constitué de lattes et laisser des espaces de 1 cm;
- il est conseillé de faire un toit articulé;
- une porte est installée dans la paroi avant;
- un treillis est cloué à la paroi avant ou à la porte.

Vous pouvez construire une structure où toute la paroi avant est une porte grillagée. Le treillis métallique est cloué sur le cadre en bois. Un chargeur peut être fixé à la porte. Un tel dispositif aidera à garder les aliments propres et à éliminer les débris alimentaires avariés à temps.

À partir d'un profilé métallique
En plus du bois, des éléments métalliques peuvent être utilisés pour fabriquer des logements pour les lapins. Certes, ces produits présentent non seulement des avantages (bon marché, facilité d'entretien), mais également des inconvénients. Les cages métalliques grillagées ne sont pas adaptées à une utilisation en extérieur. En plein air, ces structures commenceront à rouiller rapidement. De plus, la maille se réchauffe fortement sous l'effet de la chaleur et se refroidit instantanément lors du fort gel.
Pour une cage en treillis métallique, vous devez d'abord créer un cadre à partir de lattes, par exemple à partir d'un profilé métallique, puis le recouvrir d'un treillis avec la plus petite cellule. Vous pouvez construire une structure combinée de bois et de métal. Les murs et le toit peuvent être en bois, le sol et les portes sont en treillis métallique.

Important! Vous pouvez construire une habitation pour les lapins en utilisant des cloisons sèches ou du contreplaqué comme cloisons ou murs.Dans tous les cas, il est préférable de fabriquer le cadre de la future structure à partir d'un profilé métallique. Le profilé métallique se plie facilement, se prête à la connexion, à l'installation à la maison.
À partir d'un tuyau profilé
Un logement pour animaux de compagnie peut être assemblé à partir d'une variété de matériaux disponibles sur la ferme. Tout d'abord, vous devez construire un cadre. La base la plus solide est obtenue à partir d'un profilé métallique. Certes, vous avez besoin d'une machine à souder pour connecter les rails.
Le cadre est gainé de planches de bois, treillis métallique ou contreplaqué, plaques de plâtre. La construction en bois robuste convient à l'élevage d'animaux en extérieur. Si un treillis métallique a été utilisé pour la construction, un tel logement pour lapins est mieux placé à l'intérieur. Dans les conseils pour les éleveurs de lapins novices, vous pouvez trouver des recommandations selon lesquelles il est plus facile de fabriquer une cage à lapin à partir de matériaux en bois.

Disposition de la cellule à l'intérieur
Les habitations pour lapins peuvent avoir une pièce spacieuse ou deux sections: une poupe et un nid. Si le compartiment de nidification dans la cage pour femelles n'est pas clôturé, alors avant l'encerclement, une cellule mère y est placée, c'est-à-dire une boîte en contreplaqué fermée avec un trou d'un diamètre de 30 cm. À l'intérieur de la structure, ils équipent une mangeoire, un sennik et un abreuvoir. Ces articles sont en plastique, en fil de fer, en tôle ou en bois.
Certes, les animaux rongeront rapidement le plastique fin, il vaut mieux ne pas l'utiliser.
Les mangeoires sont installées près de la porte, de la paroi avant ou suspendues à la cloison avant. Pour le foin, ils achètent ou fabriquent leurs propres dévidoirs, qui sont transportés à l'extérieur du périmètre de la cage, c'est-à-dire qu'ils sont accrochés à une porte ou à une paroi latérale avant. Des bols à boire sont également fixés à la cloison avant en filet. Vous pouvez acheter des appareils sanitaires prêts à l'emploi à la quincaillerie. Par exemple, des abreuvoirs à vide ou à tétine pour lapins.

Il doit y avoir suffisamment de place dans la cage pour que l'animal soit actif. Certains artisans fabriquent des structures à plusieurs niveaux pour leurs animaux de compagnie. Au-dessus, ils équipent un nid, en dessous, ils forment une zone arrière avec un endroit spacieux pour la marche. Vous pouvez garder les lapins dans des boîtes en bois dans une pièce chaude en hiver, et en été, vous pouvez les déplacer à l'extérieur vers un corral portable à partir d'un filet à mailles de chaîne, où ils mangeront des pâturages.
Idées intéressantes de cellules inhabituelles
Si vous le souhaitez, vous pouvez construire une véritable maison pour vos animaux avec plusieurs pièces: une chambre-nid, une auge de cuisine et un immense salon, c'est-à-dire un lieu de promenade. Certains artisans fabriquent des lits superposés pour les lapins. Au niveau inférieur, au lieu d'un plancher, il y a de l'herbe verte et les murs sont constitués d'un cadre gainé de treillis. A l'étage se trouve une cabine de couchage en bois fermée. Les animaux montent au deuxième étage le long d'une échelle inclinée.
Une cage pour vos animaux peut être fabriquée sous la forme d'une maison de village, où le balcon est une mangeoire pour le foin et l'herbe, et les fenêtres sont des ouvertures avec un filet dans les parois latérales. Au-dessus d'une telle maison, il devrait y avoir un toit recouvert d'un matériau de toiture imperméabilisant. En hiver et en été, une telle structure peut se tenir à l'extérieur.
Une cage avec un animal peut être faite de matériaux en bois massif et placée sur une élévation près de la clôture. Les portes sont mieux faites de treillis. Sur un toit plat, vous pouvez mettre des pots de fleurs ou une palette avec des plantes parfumées (aneth, persil, céleri), que les lapins aiment tant.

