Dimensions et dessins d'une stalle pour vaches et taureaux, comment faire à la maison
Les performances d'un animal d'élevage, sa santé et sa durée d'utilisation sont directement affectées par son confort. Les bovins (bovins) ne font pas exception. Il est important d'équiper correctement les animaux avec le logement - la grange. Et accordez également une attention particulière aux stalles à vaches - un espace personnel où le bétail se nourrit et se repose.
Caractéristiques de la construction d'un stand de vos propres mains
Le matériau optimal pour la construction d'une grange pour le bétail dans une petite ferme sont les planches. Mais la pierre ou la brique conviennent comme alternative. Le premier garantit la solidité de la grange. Mais cela a un effet néfaste sur la santé des animaux, qui tombent souvent malades dans des conditions de béton humide.
Pour rendre la structure en bois plus durable, la fondation est coulée. Une base en ciment assurera la longévité du hangar. Cependant, il sera sec et chaud. La pierre est utile pour la construction de murs adjacents.
Exigences
En établissant un plan préliminaire avec calculs, l'agriculteur prend comme base le potentiel de ses capacités, la disponibilité de structures prêtes à l'emploi disponibles pour la conversion, la superficie, ainsi que le nombre de têtes. Il est important lors de la construction d'une grange de prendre en compte les dimensions de l'animal: pour les taureaux d'engraissement, les tailles sont prévues pour un, pour les vaches plus «fragiles» - les autres, et pour les veaux - le troisième.
Mais il y a des points à ne pas oublier lors de l'organisation d'une grange avec une stalle:
- un site pour un bâtiment est sélectionné sur une élévation;
- dans le bâtiment, vous devez faire un drain;
- réfléchir aux conditions de sécurisation de la vache pendant la traite et pour l'alimentation;
- la ceinture ou la corde ne doit pas causer d'inconfort lors des mouvements de haut en bas;
- pour les vaches attachées, une entrée / sortie libre dans la stalle est requise, ainsi qu'un mouvement autour de l'étable.
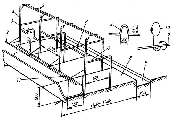
Diagrammes et dessins
Lors du calcul des paramètres d'un lieu individuel pour un animal agricole, non seulement les dimensions hors tout de l'individu sont prises en compte, mais également l'espace nécessaire au mouvement confortable d'une vache ou d'un taureau. Les dimensions de la stalle pour les bovins attachés sont calculées conformément au tableau. Les chiffres qui y figurent sont en moyenne et varient en fonction de la taille de l'individu: plus d'espace est nécessaire pour le gobie, ainsi que pour les vaches qui aiment se coucher davantage.
Table. Chiffres indicatifs pour le calcul des dimensions des stalles:
| Paramètres | Distance, m |
| Longueurs de la jambe au-dessus du genou vers l'arrière | 1,6-1,8 |
| Volume de la tête | 0,5 |
| Espace supplémentaire pour les manœuvres | 0,5 |
Longueur corrale
Selon ce paramètre, les zootechniciens distinguent plusieurs types de grange. Les principaux sont:
- Long (plus de 2 m).Les principaux inconvénients sont une augmentation des coûts de main-d'œuvre et une attitude irrationnelle envers le territoire. Moins peut affecter la production de lait.
- Moyen (1,7-2 m). Gamme optimale pour l'attache du bétail. Les indicateurs de production ne sont pas affectés, la ferme se sent relativement libre.
- Raccourci (1,1-1,4 m). La longueur est trop courte pour l'animal. Dans de telles conditions, le septum de la partie arrière blesse le pis de la vache, provoquant une mammite.
Largeur
Une unité inconditionnelle pour un bétail adulte de bovins est de 1 m. Il est permis de réduire la valeur à 0,8 m lors de l'élevage de jeunes animaux jusqu'à 20 mois. En général, le calcul est effectué en tenant compte des caractéristiques du groupe de contenus.
Table. Paramètres de stabulation par type de bétail (méthode attachée):
| Vue | Largeur, m | Longueur, m |
| Sec et traite | 1,0-1,2 | 1,7-2 |
| Grossesse profonde | 1,2-2 | 2,0 |
| Novotelny | 1,2 | 2,0 |
| Viande (vaches et taureaux d'engraissement) | 0,9-1,0 | 1,7 |
| Pour les taureaux reproducteurs | 1,5 | 2,0 |
Plusieurs méthodes sont appliquées aux veaux. Le conservateur prévoit leur maintien dans une cage dans une pièce isolée avec du parquet - jusqu'à 1,5 mois. Ensuite, les individus sont transférés dans une salle d'une superficie d'au moins 4 m2... Il existe également une méthode froide: les jeunes animaux sont gardés dans une boîte isotherme avec un corral à l'extérieur.
Sol
Norme pour une tête d'adulte - 1,7-2,3 m2... Faites-le à un angle, ce qui permet aux excréments de s'écouler. Mais il ne doit pas être important, sinon le risque de blessure pour les animaux augmente. Le chiffre optimal est de 2-3 °. Le sol peut être solide et partiellement latté. Dans ce dernier cas, un réservoir est placé sous la structure.
Si le sol est en bois, il durera au maximum 2-3 ans. Il est plus souvent fait pour rester au chaud et réduire le coût de la literie supplémentaire. Pour prolonger la durée de vie, ils ont recours à l'organisation d'un sol en béton. Outre des avantages tels que la résistance à l'humidité, la protection contre les rongeurs, son principal inconvénient est le froid.
Litière dans la grange
C'est une couche de foin uniformément répartie. Ce dernier est remplacé chaque semaine par un nouveau. Dans les grandes granges, une alternative est les couvertures en polyuréthane ou les tapis caoutchoutés. Ils vous gardent propre et au chaud.
Où trouver la grange
Avant la construction, l'emplacement du bâtiment est déterminé. La structure pour les vaches est située à au moins 15 m du puits ou du puits. Parfois, une grange avec des stalles est combinée avec un mur blanc de l'habitation. Ici, les économies sur les matériaux de construction sont au premier plan. Mais le plus souvent, les dépendances sont construites à distance de la maison. Lors de la sélection d'un site, un corral est également fourni.
Processus de construction
Construire un petit hangar avec des stalles pour taureaux ou vaches est facile. L'essentiel est d'effectuer des calculs et de vous armer des consommables appropriés. La vidéo vous aidera à réaliser vous-même vos projets:
Mais la conception d'une grande grange avec des stalles pour les vaches, ainsi que sa construction, devraient être confiées à une personne expérimentée. Ce dernier pourra prendre en compte tous les détails nécessaires.
Fondation
Sa qualité influe sur la durée de vie du bâtiment. Si vous envisagez de construire un hangar en brique, il est préférable de remplir une fondation monolithique en dessous. Pour une grange en bois, une grange en colonne convient également. Lors du versement de tout type, ils organisent un drain, effectuent une imperméabilisation.
Plancher, murs, toit
La base doit être adaptée aux sabots de bovins et étanche. Parfois, le sol des stalles est fait de planches. Mais le plus souvent, du béton est coulé. Pour le drainage des matières fécales, des gouttières de 1 cm de hauteur et 2 cm de largeur sont posées, après avoir prévu la pente.
Les murs protègent le bétail des vents, créant le microclimat nécessaire dans les stalles. Lors de la construction d'une grande étable, ils sont aménagés en briques d'adobe. D'en bas, le bâtiment pour les vaches est bordé de maçonnerie en paille.
À la fin, un toit est tapissé au-dessus des stalles - carrelé ou ardoise. Dans les régions aux hivers chauds et aux longues heures de clarté, ils sont recouverts de polycarbonate. Un grenier est aménagé sous la voûte. Ce dernier, en plus des fonctions d'entrefer, constituera un excellent stockage pour le foin et l'inventaire.
"Intérieur" du hangar à taureaux
Lors de la planification d'une structure, il est important de se laisser guider non seulement par les paramètres spécifiés des parties. Il existe également de tels composants:
- Ventilation. Rendez-le naturel en évitant les courants d'air.
- Système de chauffage. Lors de la construction, un matériau isolant est utilisé.
- Éclairage. En plus de la journée, l'artificiel est fourni pour de bonnes performances.
- Bols à boire. Ils fournissent de l'eau à la main ou pendant la construction, ils posent un système d'approvisionnement en eau.
- Nouveau dissolvant. À la maison, le moyen le plus simple de le nettoyer est hebdomadaire, avec un lit de foin.
Pour assurer des taux de production élevés, la vache, le taureau, a besoin de créer un environnement confortable. La disposition des stalles aidera à atteindre un microclimat optimal.







